当前,全球无机硅化物产业正处于向精细化、高值化转型的关键周期,我国作为硅酸钠生产大国,年产能已超550万吨,产量稳居全球前列,但产业发展仍面临“大而不强”的困境——中低端产品同质化严重、产能过剩,而高端电子级、半导体级硅酸钠产品依赖进口,市场缺口显著。
从行业发展趋势来看,下游电子、半导体、新能源等高精尖领域的快速扩张,对硅酸钠产品纯度提出了前所未有的严苛要求,其中除钠环节的技术水平,直接决定企业能否突破产能瓶颈、抢占高端市场。硅酸钠提纯技术中的除钠环节,其纯度控制与效率提升,成为制约行业向高值精细领域转型的核心瓶颈,不少企业陷入“产能有余、品质不足”的困境,难以满足电子、半导体、高端材料等领域对电子级硅酸钠制备的严苛需求。
为什么硅酸钠中的钠离子这么难去除?
硅酸钠中的钠离子难以去除,核心源于两大层面的挑战:一是硅酸钠溶液本身的特性制约,其高pH值(通常在12-14之间)、高粘度的环境,会对传统离子交换树脂的稳定性造成极大考验,易导致树脂结构破损、交换容量衰减,进而影响除钠效果与使用寿命;二是原水杂质去除不彻底,不仅会加剧设备磨损、增加运维成本,更会直接影响脱钠产品纯度,限制下游高端应用场景的拓展。
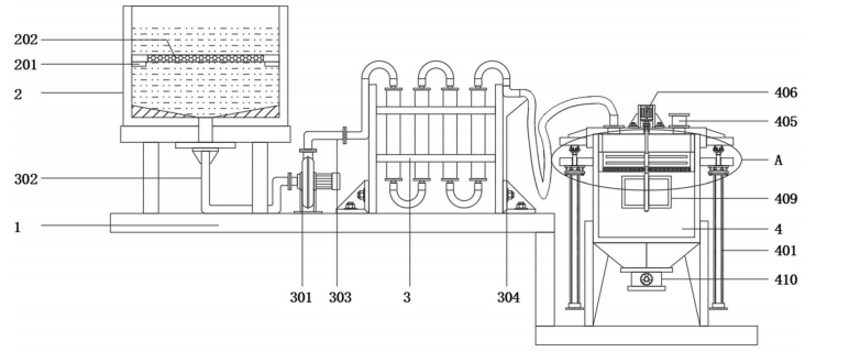
传统脱钠装置常因过滤精度不足,且适配的树脂耐极端环境能力薄弱,无法有效解决这一问题。而近日斩获国家实用新型专利的硅酸钠脱钠装置(专利号:ZL 2024 2 2618705.1),通过三重过滤的结构创新,为杂质去除提供了可靠解决方案,也为硅酸钠提纯技术优化奠定了设备基础。更关键的是,专利装置效能的充分发挥,离不开优质离子交换树脂与成熟工艺的协同赋能,Tulsimer树脂凭借特殊的耐高pH值、耐高粘度性能,可在硅酸钠溶液的极端环境下稳定运行,成为突破这一技术瓶颈的核心支撑。


Tulsimer树脂是如何实现PPB级深度除钠的?
离子交换法是硅酸钠溶液脱钠的主流技术之一,相比于传统的化学沉淀法或膜过滤法,离子交换法在处理高浓度钠离子时,具有杂质去除更彻底、不引入新污染物、可循环再生的独特优势,因此成为众多企业开展高纯硅酸钠生产的优选方案。
离子交换树脂作为该工艺的核心组件,其性能直接决定脱钠纯度与工艺稳定性。科海思深耕离子交换领域多年,将硅酸钠脱钠专利装置与自主研发的除钠工艺、Tulsimer树脂深度融合,打造了全流程硅酸钠提纯技术解决方案,为实现PPB级高纯度提纯提供了可靠路径,打破传统工艺局限。其中,基于Tulsimer树脂的离子交换工艺在硅酸钠除钠中的技术原理与运行参数表现优异,凝胶型Tulsimer® T-42 H树脂作为离子交换树脂除钠的核心优选,适配性与实用性均突出。
从性能来看,Tulsimer® T-42 H树脂具备选择性强、交换容量高、低杂质泄漏的特点,能够精准吸附硅酸钠溶液中的钠离子,可助力企业实现对钠离子的深度去除,产品纯度可达PPB级水平,有效提升产品纯度,帮助企业突破品质瓶颈。其均匀的颗粒直径特性,可减少床层压力损失,延长树脂使用寿命,同时保障出水品质的稳定性,为高纯硅酸钠生产工艺连续运行提供可靠保障。在再生性能上,Tulsimer树脂同样表现优异,吸附饱和后通过稀硫酸处理即可恢复交换能力,实现再生循环利用,既降低企业运行成本,也减少废水排放,契合行业绿色发展趋势。

工业化应用中,Tulsimer树脂如何实现降本增效?
科海思打造的六级闭环硅酸钠溶液脱钠工艺,将Tulsimer树脂的性能充分发挥,从树脂预处理、装填,到硅酸钠处理、提纯液收集,再到树脂再生与后处理,每一步都实现精细化管控。经过工业化运行验证,采用Tulsimer树脂的离子交换树脂除钠系统,可稳定处理钠离子含量5-10%的硅酸钠溶液,实现24小时不间断运行。
该系统不仅占地小、操作简便,更契合当前ESG(环境、社会和公司治理)发展理念与循环经济趋势,实现了钠离子的深度去除与资源的高效回收——将再生液中的硫酸钠回收提纯,作为副产品销售,变废为宝,帮助企业构建循环经济产业链,既降低了固废排放压力,又为企业创造额外收益,具备向大型工业化推进的成熟条件。
这种“设备适配+工艺支撑+产品供应”的一站式服务,让Tulsimer树脂的应用价值得到充分体现,也为企业提供了可落地、高性价比的硅酸钠提纯技术解决方案。
Tulsimer树脂如何助力硅化物行业高值转型?
当前,硅化物行业正朝着绿色化、精细化、高值化方向转型,高端硅酸钠产品的市场需求持续攀升,尤其是在电子级硅酸钠制备等高端应用领域,对除钠技术提出了更高要求。Tulsimer树脂凭借出色的性能与可靠的应用表现,为硅酸钠溶液脱钠提供高效解决方案,帮助企业突破品质瓶颈、拓展高端应用场景、提升产品附加值。
对于面临硅酸钠除钠难题、寻求品质升级的企业而言,选择适配的离子交换树脂除钠产品是关键。Tulsimer树脂以其稳定的性能、较高的适配性,成为高纯硅酸钠生产领域的优选产品,搭配成熟的工艺与专利设备,能够有效破解行业痛点,帮助企业在产业升级浪潮中把握机遇,实现高质量发展。
未来,科海思将持续聚焦半导体、新能源、光学材料等前沿领域,推动Tulsimer树脂与硅酸钠除钠技术的迭代创新,为更多高精尖产业提供国产化、高纯度的材料解决方案,为我国硅化物产业从“基础化工”向“高值精细”转型注入更多动力。从行业长远发展来看,高纯硅酸钠作为高端制造领域的核心基础材料,其技术突破不仅能填补国内市场缺口、降低进口依赖,更能推动整个无机硅化物产业的价值链升级。科海思将以技术创新为核心,持续深耕离子交换领域,依托Tulsimer树脂的技术优势,携手行业企业共建高效、绿色、循环的产业生态,助力我国从硅酸钠生产大国向产业强国转型。
转自:鹰潭新闻网
【版权及免责声明】凡本网所属版权作品,转载时须获得授权并注明来源“中国产业经济信息网”,违者本网将保留追究其相关法律责任的权力。凡转载文章及企业宣传资讯,仅代表作者个人观点,不代表本网观点和立场。版权事宜请联系:010-65363056。
延伸阅读